Canon 想要進軍 vlog,新設計的「手持攝影裝置」設計與專利申請曝光? 這個設計「很可以呀」,Canon 在疫情前,設計了一款「手持攝影裝置」,其設計外型與概念,與現今最夯的 OSMO Pocket 3 十分的相近,但是不同的是,他是一款「可更換鏡頭」的設計,且是 EOS-M 卡口。
![[3C NEWS] Canon 是否可能推出「手持攝影產品」? 4 年前的申請專利曝光 [3C NEWS] Canon 是否可能推出「手持攝影產品」? 4 年前的申請專利曝光](https://hojenjen.com/wp-content/uploads/2024/08/20240824103705_0_e6f2cf.png?resize=1159%2C832)
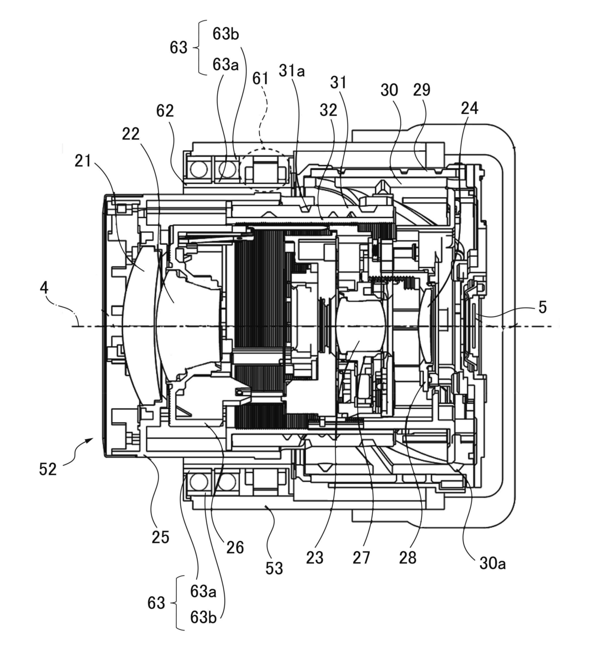
如上圖所示,這個「手持攝影裝置」,留意 303 的位置,就是一片看似不小的 LCD,再看看 211、204 等數字,以及 507 的位置,代表他是一款可更換鏡頭的主機,根據消息來源指出,這是一款 EOS-M 卡口的手持攝影裝置,且感光元件為 1 吋型,代表這個體積可以十分的輕巧。
看看這個專利圖,是不是跟 OSMO Pocket 3 十分的接近。
![[3C NEWS] Canon 是否可能推出「手持攝影產品」? 4 年前的申請專利曝光 [3C NEWS] Canon 是否可能推出「手持攝影產品」? 4 年前的申請專利曝光](https://hojenjen.com/wp-content/uploads/2024/08/20240824103722_0_375710.png?resize=1200%2C1340)
雖然說這是 4 年前疫情下設計、申請的專利,4 年過後,不但 EOS-M 已經走入歷史,就連整個市場狀況也不一樣了,Canon 也出了 Power V10,這款主機會不會製作出來,我個人覺得不會,過去許多設計、專利推出的產品,也只是停留在紙上談兵而已,但如果真的推出的話,我想這款手持攝影裝置,應該是蠻不錯的產品。

![[NEWS] LG G6 18:9 超獨特螢幕比例, 125 度超廣角雙鏡頭更實用 [NEWS] LG G6 18:9 超獨特螢幕比例, 125 度超廣角雙鏡頭更實用](https://i0.wp.com/hojenjen.com/wp-content/uploads/2017/03/1489475875-f064e8ffa364424635a5236be7448196.jpg?quality=90&zoom=2&ssl=1&resize=350%2C233)
![[NEWS] EOS M5 即將發表 [NEWS] EOS M5 即將發表](https://i0.wp.com/hojenjen.com/wp-content/uploads/2016/09/1472696101-4dd7b91b503908da5be03440fd5e2d48.jpg?quality=90&zoom=2&ssl=1&resize=350%2C233)
![[3C NEWS] Sony A6600 與 Sony A6100 規格,以及所有 A6000 產品線定位看法 [3C NEWS] Sony A6600 與 Sony A6100 規格,以及所有 A6000 產品線定位看法](https://i1.wp.com/hojenjen.com/wp-content/uploads/20190829100818_96.jpg?quality=90&zoom=2&ssl=1&resize=350%2C233)
![[3C NEWS] Panasonic 進軍 FF 全片幅相機市場,推出 S1 / S1R 雙機 [3C NEWS] Panasonic 進軍 FF 全片幅相機市場,推出 S1 / S1R 雙機](https://i0.wp.com/hojenjen.com/wp-content/uploads/20180925202633_89.jpg?quality=90&zoom=2&ssl=1&resize=350%2C233)
![[3C NEWS] Canon EOS R52 ,將不支援副廠電池,甚至舊電池也有限制。 [3C NEWS] Canon EOS R52 ,將不支援副廠電池,甚至舊電池也有限制。](https://i2.wp.com/hojenjen.com/wp-content/uploads/2024/08/20240812185605_0_b16e67.png?quality=90&zoom=2&ssl=1&resize=350%2C233)
![[3C NEWS] Canon EOS R 上市,單機身 67000,KIT 鏡組 99300,10 月中上市 [3C NEWS] Canon EOS R 上市,單機身 67000,KIT 鏡組 99300,10 月中上市](https://i0.wp.com/hojenjen.com/wp-content/uploads/20180927133357_63.jpg?quality=90&zoom=2&ssl=1&resize=350%2C233)
![[NEWS] Gopro HERO6 準備發表與可能規格,4K / 60FPS 錄影再提昇 [NEWS] Gopro HERO6 準備發表與可能規格,4K / 60FPS 錄影再提昇](https://i1.wp.com/hojenjen.com/wp-content/uploads/2017/09/1505461438-bdc67d955772537d9ffb332feee93168.jpg?quality=90&zoom=2&ssl=1&resize=350%2C233)

![[3C NEWS] Canon 表示:8K 攝影機,我們著手中 [3C NEWS] Canon 表示:8K 攝影機,我們著手中](https://i0.wp.com/hojenjen.com/wp-content/uploads/2016/07/1469593939-4d389186fbef0230f9d54375f0386d34.jpg?quality=90&zoom=2&ssl=1&resize=350%2C233)

![[3C NEWS] 中國市場 – 無反相機銷售,Canon 為 Sony 的 2 倍](https://i0.wp.com/hojenjen.com/wp-content/uploads/2024/09/20240911135538_0_8cba61.jpg?resize=779%2C379)
![[3C NEWS] Canon 正式宣告 – 全球性的零件、料件短缺](https://i2.wp.com/hojenjen.com/wp-content/uploads/2024/09/20240911133900_0_c101cb.jpg?resize=745%2C374)
![[3C NEWS] Peak Design 要推出更具機能性的「登山背包了」](https://i1.wp.com/hojenjen.com/wp-content/uploads/2024/09/20240910122107_0_d8d08d.jpg?resize=847%2C474)
![[3C NEWS] Sigma 正式發表 Canon RF 環 10-18mm/f2.8 DC DN](https://i0.wp.com/hojenjen.com/wp-content/uploads/2024/09/20240906210005_0_075fc9.jpg?resize=924%2C449)
![[3C NEWS] 中一光學新手動鏡 20mm f/0.95 ASPH APS-C 廣角大光圈鏡頭](https://i1.wp.com/hojenjen.com/wp-content/uploads/2024/09/20240901155345_0_f527e1.jpg?resize=788%2C412)